ABLIC S-35710/20 Automotive Convenience Timers

ABLIC S-35710/20 Automotive Convenience Timers offer low current consumption and a wide 1.8V to 5.5V operation voltage. The timers have a built-in 32.768kHz crystal oscillation circuit, and an alarm interrupt function settable on the second time scale from 1 second to 194 days. The lead-free ABLIC S-35710/20 automotive convenience timers are ideal for time management of various systems during the sleep period.

Features

  • 1.8V to 5.5V Wide range of operation voltage
  • Built-in 32.768kHz crystal oscillation circuit
  • Alarm interrupt function
    • S-35710 Series - Settable on the second time scale from 1 second to 194 days (Approximately half a year)
    • S-35720 Series - Settable interrupt time Selectable as the option on the second time scale from 1 second to 194 days (Approximately half a year)
  • 2-wire (I2C-bus) CPU interface (S-35710M A, S-35710 A, S-35710)
  • Low current consumption
    • 0.25μA typ. (S-35710M A)
    • 0.2μA typ. (S-35710 A, S-35720 A, S-35710)
  • Operation temperature range
    • Ta = −40°C to +85°C (S-35710)
    • Ta = −40°C to +125°C (S-35710M A, S-35710 A, S-35720 A)
  • AEC-Q100 qualified (S-35710 A, S-35720 A)
  • AEC-Q100/Q200 qualified (S-35710M A)
  • Lead-free (Sn 100%), halogen-free

Applications

  • Time management for regular surveillance of fuel vaporization status (e.g., fuel injection system)
  • Time management for regular surveillance of battery status (e.g., BMS)
  • Time management during various system sleep periods (engine shutdown)
  • IoT communications device
  • Alarm management for equipment replacement and an end-of-service life
  • Monitoring device
  • Security device
  • Battery system
  • Energy harvesting system

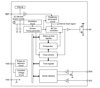
Block Diagrams

Settings Diagram

Infographic - ABLIC S-35710/20 Automotive Convenience Timers
Publicado: 2022-07-27 | Actualizado: 2022-08-10