Abracon AB-RTC-TN Real-Time Clocks (RTCs)

Abracon AB-RTC-TN Real-Time Clocks (RTCs) with integrated Temperature-Compensated Crystal Oscillator (TCXO) deliver ±3ppm stability across a wide temperature range, ensuring precise timekeeping for demanding applications. Integrating the RTC and oscillator into a single compact module reduces frequency drift, minimizes external components, and simplifies system design while enhancing reliability. The AB-RTC-TN RTCs feature ultra-low power consumption of 240nA and an automotive-grade option, supporting long-life, battery-operated devices and ensuring uninterrupted timekeeping even during power failures. The AB-RTC-TN RTCs are suited for smart-metering, automotive event data recorders, UAVs, SCADA systems, medical devices, and surveillance equipment.

Features

  • 240nA @ 3V low power consumption
  • ±3ppm time accuracy @ -40°C to 85°C temperature range
  • External event input with interrupt and time stamp function
  • 1.5V to 5.5V wide operating voltage range
  • Integrated CMOS oscillator with 32.768kHz crystal resonator
  • Factory-calibrated temperature compensation
  • Internal Power-On Reset (POR)
  • Alarm Interrupts for seconds, minutes, hours, date, and weekday
  • Automatic leap year calculation (2000 to 2099)
  • 32.768kHz, 1.024Hz, and 1Hz clock outputs
  • 400kHz I2C-bus interface
  • AEC-Q200 Qualified (AB-RTC-TNA)

Applications

  • IoT metering
  • Wearables/Portables
  • Advanced Driver Assistance Systems (ADAS)
  • Telematics and infotainment
  • Event data recorders
  • Industrial
  • Health care
  • GNSS communication devices
  • Satellites / UAVs / Drones

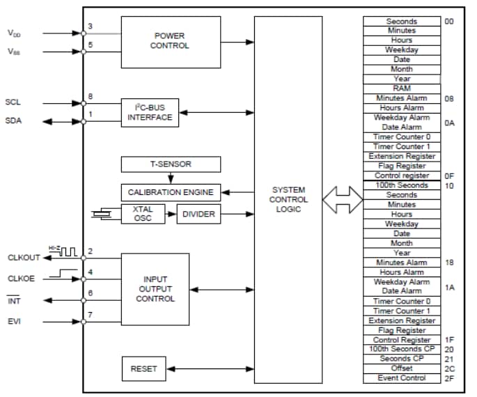
Block Diagram

Block Diagram - Abracon AB-RTC-TN Real-Time Clocks (RTCs)

Mechanical Drawing

Mechanical Drawing - Abracon AB-RTC-TN Real-Time Clocks (RTCs)
Publicado: 2025-11-14 | Actualizado: 2025-12-17