ams OSRAM AS5047D & AS5147 Magnetic Rotary Position Sensors
ams OSRAM AS5047D and AS5147 High-resolution Rotary Position Sensors deliver fast absolute angle measurement over a full 360° range. These position sensors are equipped with a revolutionary integrated dynamic angle error compensation (DAEC™) with almost no latency. The robust design of the device suppresses the influence of any homogeneous external stray magnetic field. A standard 4-wire SPI serial interface allows a host microcontroller to read 14-bit absolute angle position data and to program non-volatile settings without a dedicated programmer.The ams OSRAM AS5047D and AS5147 High-resolution Rotary Position Sensors are both available as a single die in a compact 14-pin TSSOP package.
Features
- DAEC Dynamic Angle Error Compensation
- 14-bit core resolution
- Zero position, configuration programmable
- SPI, ABI, UVW, PWM independent output interfaces
- Immune to external stray fields
- TSSOP-14 package
Applications
- Brushless DC motor control
- Automotive
- Industrial
- Optical encoder replacement
Datasheets
Videos
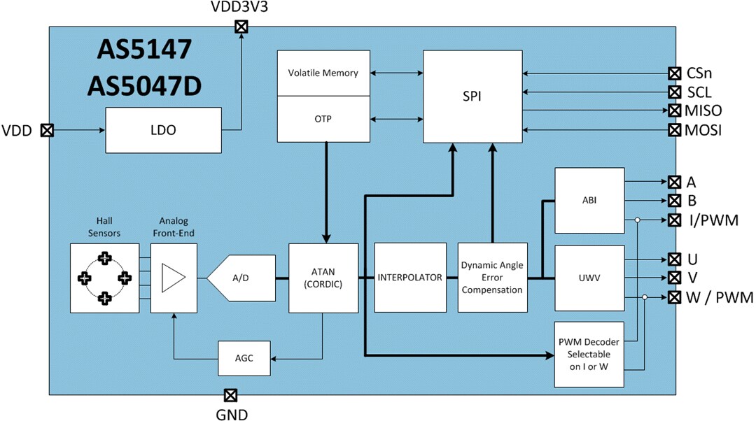
Block Diagram
Publicado: 2014-07-17
| Actualizado: 2024-08-05
