Analog Devices Inc. AD-GMSL522-SL GMSL Robotics Rapid Dev Platform

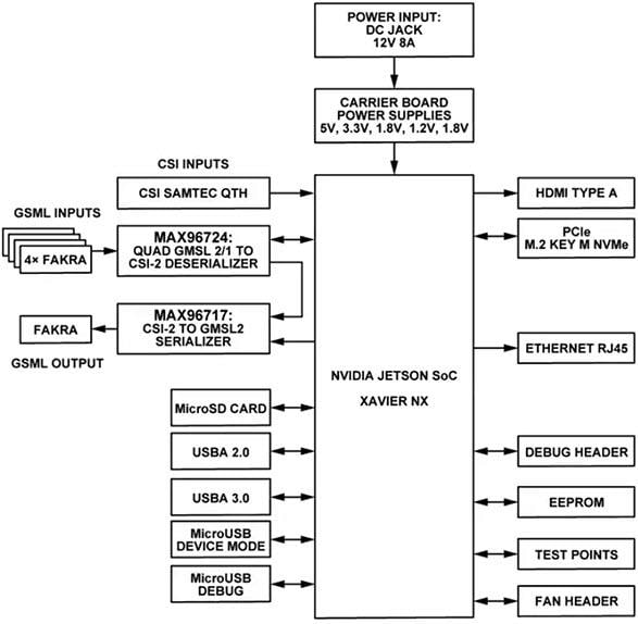
Analog Devices AD-GMSL522-SL GMSL Robotics Rapid Development Platform is GMSL-enabled NVIDIA Jetson Xavier™ NX-based carrier boards and software solutions that allow for simple camera-to-display conversion. These solutions create a scalable, user-friendly GMSL platform for receiving and transmitting data. The platforms enable demonstrations and ecosystem development by serving as a hardware platform for software development. The design incorporates the MAX96724GTN/VY+ Quad tunneling GMSL2/1 to CSI-2 deserializer and MAX96717GTJ/VY+ CSI-2 to GMSL2 serializer and provides a reliable platform to evaluate high-bandwidth GMSL. These boards are used in sensor fusion ECU, in-cabin infotainment, and ADAS camera solutions.

The Analog Devices AD-GMSL522-SL series supports two forms of camera input: straight CSI data coming through a SAMTEC connector or via camera modules using GMSL2 or GMSL1 technology to connect to the onboard MAX96724 via COAX connectors. GMSL evaluation kits or any camera utilizing the standard 15- or 22-pin Raspberry Pi connector can be connected using the AD-GMSLCAMRPI-SL adapter board.

The AD-GMSL522-SL package includes software tools to enable customers' development of GMSL applications. These tools include modified L4T kernels that support certain camera modules and documentation allowing users to update these kernels for specific hardware needs.

Features

  • GMSL2 prototyping system supporting the NVIDIA Jetson™ SoCs
  • Onboard MAX96724 allows 4x GMSL2/1 camera inputs providing camera module bring-up, debugging, and video streaming
  • Onboard MAX96717 that can be used for camera emulation and head-unit debug
  • Enables development of GMSL applications with NVIDIA Jetson SoC
  • SAMTEC connector that allows connection of any GMSL DPHY EV Kit to the NVIDIA Jetson
  • Additional USB, Ethernet, PCIe, and microSD card inputs

Applications

  • ADAS camera solutions
  • Sensor fusion ECU
  • Driver and occupant monitoring
  • In-cabin infotainment

Videos

System Architecture

Block Diagram - Analog Devices Inc. AD-GMSL522-SL GMSL Robotics Rapid Dev Platform
View Results ( 2 ) Page
N.º de artículo Hoja de datos Descripción
AD-GMSL522-SOM-SL Herramientas de desarrollo de interfaz Nvidia SoC based dev't platform + SOM
AD-GMSL522-SL Herramientas de desarrollo de interfaz Nvidia SoC based development platform
Publicado: 2024-08-30 | Actualizado: 2025-03-13