Analog Devices Inc. ADPA1122 20W GaN Power Amplifier

Analog Devices Inc. ADPA1122 20W GaN Power Amplifier provides 43dBm (20W) with more than 43% power added efficiency (PAE) across the 8.2GHz to 11.8GHz frequency range. The ADPA1122 gallium nitride (GaN) power amplifier delivers ±0.5dB of gain flatness from 9.6GHz to 11GHz. The ADI ADPA1122 is optimized for pulsed military, marine, and weather radar applications.

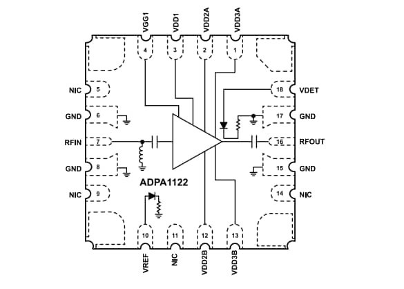
The ADPA1122 is housed in an 18-terminal, 7mm × 7mm, ceramic leadless chip carrier with a heat sink [LCC_HS]. The package exhibits low thermal resistance and is compatible with surface-mount manufacturing techniques.

Features

  • Internally matched and AC-coupled 20W GaN power amplifier
  • Integrated temperature-compensated RF power detector
  • POUT with PIN = 22dBm, 43.5dBm typical from 9.6GHz to 11GHz
  • Small signal gain of 31dB typical from 9.6GHz to 11GHz
  • Power gain with PIN = 22dBm: 21.5dB typical from 8.2GHz to 11GHz
  • PAE is 46% typical from 9.6GHz to 11GHz
  • Supply voltage of 28V at 200mA on 10% duty cycle
  • 18-terminal, 7mm × 7mm, LCC_HS package

Applications

  • Weather radars
  • Marine radars
  • Military radars

Functional Block Diagram

Block Diagram - Analog Devices Inc. ADPA1122 20W GaN Power Amplifier
Publicado: 2023-05-18 | Actualizado: 2023-05-30