Analog Devices Inc. ADuCM350 16-Bit Precision Low Power Meter On Chip
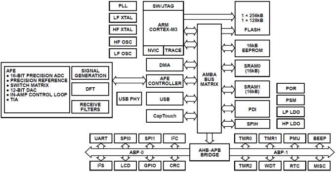
Analog Devices ADuCM350 16-Bit Precision Low Power Meter On A Chip is a complete, coin cell powered, high precision, meter-on-chip for portable device applications for applications such as point-of-care diagnostics and body-worn devices for monitoring vital signs. The ADuCM350 is designed for high precision amperometric, voltametric, and impedometric measurement capabilities. ADI ADuCM350 analog front end (AFE) features a 16-bit, precision, 160kSPS analog-to-digital converter (ADC); 0.17% precision voltage reference; 12-bit, no missing codes digital-to-analog converter (DAC); and a reconfigurable ultralow leakage switch matrix. The ADuCM350 also includes an Arm® Cortex-M3-based processor, memory, and all I/O connectivity to support portable meters with display, USB communication, and active sensors.Features
- Analog performance
- 160kSPS, 16-bit, precision analog-to-digital converter (ADC)
- 4 dedicated voltage measurement channels
- 8 current measurement channels Impedance measurement engine
- High precision voltage reference
- Supply noise rejection filtering
- Ultralow leakage configurable switch matrix 12-bit digital-to-analog converter (DAC) Precision instrumentation amplifier control loop
- 6-channel CapTouch controller
- Temperature sensor
- 160kSPS, 16-bit, precision analog-to-digital converter (ADC)
- Analog hardware accelerators
- Autonomous analog front-end (AFE) controller
- Independent sequencer for AFE functions
- Direct digital synthesizer (DDS)/arbitrary waveform generator
- Receive filters
- Complex impedance measurement (DFT) engine
- Processing
- 16MHz Arm Cortex-M3 processor
- 384kB of embedded flash memory
- 32kB system SRAM
- 16kB Flash configured EEPROM
- Integrated full-speed USB 2.0 controller and PHY
- Multilayer advanced microcontroller bus architecture (AMBA) bus matrix
- Central direct memory access (DMA) controller
- Real-time clock (RTC)
- General-purpose, wake-up, and watchdog timers
- Communication Input/Output
- I2S and beeper interface
- LCD display controller (parallel and serial)
- LCD segment controller
- SPI, I2C, and UART peripheral interfaces
- Programmable GPIOs
- Power
- Coin cell battery compatible
- 2.5V to 3.6V active measurement range
- Power management unit (PMU)
- Power-on reset (POR) and power supply monitor (PSM)
- Packages and temperature range
- Operating temperature range: −40°C to +85°C
- Package: 120-lead, 8mm × 8mm CSP_BGA
Applications
- Point-of-care diagnostics
- Body-worn devices for monitoring vital signs
- Amperometric, voltametric, and impedometric measurements
Functional Block Diagram
Additional Resources
Condition-Based Monitoring of the Human Body
With advances in technology, vital sign monitoring will become increasingly common in various industries and throughout our daily lives. Whether used for treatment or prevention, such health-related solutions call for reliable and robust technology.
Learn More
Bioelectrical Impedance Analysis in Monitoring of the Clinical Status and Diagnosis of Diseases
Publicado: 2014-07-10
| Actualizado: 2025-03-10
