Analog Devices / Maxim Integrated DS28E84 DeepCover 1-Wire Authenticator
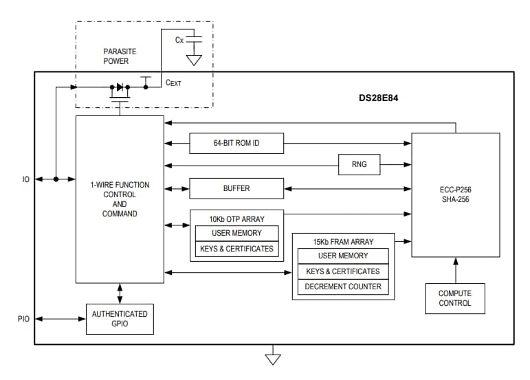
Analog Devices DS28E84 DeepCover 1-Wire Authenticator is a radiation-resistant secure authenticator with a core set of cryptographic tools. Security functions are derived from integrated asymmetric (ECC-P256) and symmetric (SHA-256). The device integrates a FIPS-compatible true random number generator (TRNG). Also incorporated is 10Kb of secured OTP, 15Kb of FRAM, one configurable GPIO, and a unique 64-bit ROM identification number (ROM ID).Features
- High radiation resistance allows UserProgrammable Manufacturing or calibration data before medical sterilization
- Resistant up to 50kGy (kiloGray) of radiation
- 10kb of One Time Programmable (OTP) for user data, keys, and certificates
- 15Kb of secure FRAM for user data and certificates
- ECC-P256 compute engine
- FIPS 186 ECDSA P256 signature and verification
- ECDH key exchange for session key establishment
- ECDSA authenticated R/W of configurable memory
- SHA-256 compute engine
- FIPS 180 MAC for secure download/boot
- FIPS 198 HMAC for bidirectional authentication and optional GPIO control
- SHA-256 OTP (one-time pad) encrypted R/W of vonfigurable memory through ECDH established key
- Optional chip-generated Pr/Pu key pairs for ECC operations or secrets for SHA256 functions
- One GPIO pin with optional authentication control
- Open-drain, 4mA/0.4V
- Optional SHA-256 or ECDSA authenticated on/off and state read
- Optional ECDSA certificate to set on/off after multiblock hash for secure download
- TRNG with NIST SP 800-90B compliant entropy source with function to read out
- 17-bit one-time settable, nonvolatile DecrementOnly Counter with Authenticated Read
- Unique and unalterable factory-programmed 64-bit identification number (ROM ID)
- Optional input data component to crypto and key operations
- Advanced 1-wire protocol minimizes interface to just single contact
- 3.3V ±10%, 0°C to +50°C operating range
- ±8kV HBM ESD protection of 1-Wire IO pin
- 6-Pin, 3mm x 3mm TDFN
Applications
- Medical consumables secure authentication
- Medical tools/accessories identification and calibration
- Accessory and peripheral secure authentication
- Secure storage of cryptographic keys for host controllers
- Secure boot or download of firmware and/or system parameters
Block Diagram
Publicado: 2019-03-26
| Actualizado: 2023-09-15
