Analog Devices / Maxim Integrated MAX34427 High Dynamic Range Power Accumulators

Analog Devices MAX34427 High Dynamic Range Power Accumulators are specialized current, voltage, and power monitors. The MAX34427 is used to determine the power consumption of systems. The device's wide dynamic range (20,000:1) allows for accurate power measurement. The Analog Devices device is configured and monitored with a standard I2C/SMBus serial interface. The unidirectional current sensor offers precision and high-side operation with a low full-scale sense voltage.

Features

  • Enables code optimization to minimize power consumption
  • Two power monitors with a wide 86dB dynamic range
  • Measures current and voltage
  • Ability to measure only accumulated current or accumulated power
  • Reduced power consumption in slow accumulation mode
  • Power-down mode
  • Minimizes processor overhead with autonomous operation
  • Per channel 56-bit power accumulators capture 2.27 hours of data at 2048 samples per second
  • Per channel 14-bit voltage registers
  • High-integration solution minimizes part count, PCB space, and BOM cost
  • 5μV to 100mV current-sense voltage with a current common-mode range of 0.5V to 24V
  • 16 programmable I2C addresses
  • I2C/SMBus interface with Bus timeout
  • -40°C to +85°C temperature range
  • Small, 2.24mm x 1.91mm footprint WLP with 12 bumps at 0.5mm pitch and 3mm x 3mm footprint TDFN 12-pin package
  • Ease of development
  • Evaluation kit with advanced GUI

Applications

  • Tablets
  • Ultra notebooks
  • Workstations
  • Servers
  • VR/AR headsets

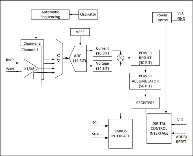
Block Diagram

Block Diagram - Analog Devices / Maxim Integrated MAX34427 High Dynamic Range Power Accumulators
Publicado: 2022-11-29 | Actualizado: 2023-04-14