Asahi Kasei Microdevices AK4x Audio D/A Converters
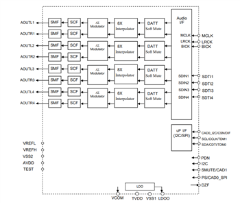
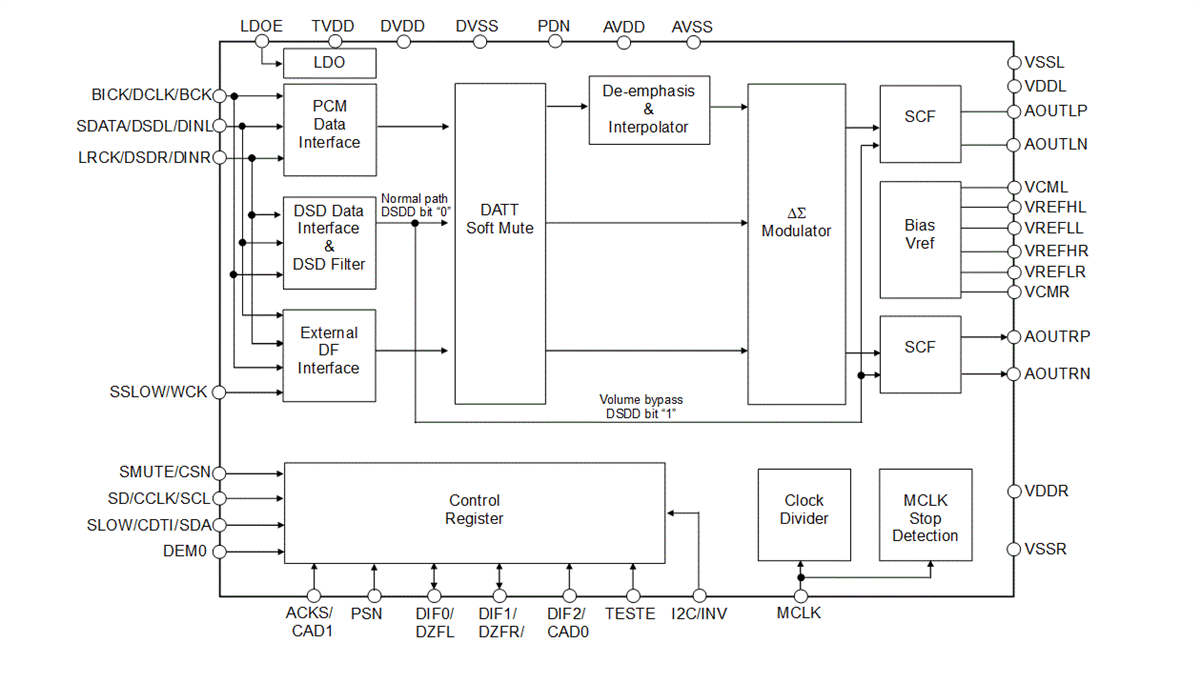
Asahi Kasei Microdevices AK4x Audio D/A Converters are an ideal solution for high-quality audio systems with the original digital-analog mixing technology. The AK4x DACs feature high-rate playback with excellent balance performance and power consumption, implementing VELVETSOUND™ technology. The AKM AK4x DACs are used in various applications such as AV receivers, set-top boxes, speaker systems, digital TVs, and car entertainment systems, contributing to sound quality and power consumption improvements and reducing external parts.Features
- Excellent balance performance and power consumption
- High-rate playback
- PCM/DSD automatic switching function
- VELVETSOUND™ technology
Applications
- Professional audio
- PA Equipment
- Audio interfaces
- Measurement instruments
- Control systems
- Voice conference equipment
- Portable Audio
- BLUETOOTH® headphones
- True wireless earphones
- IC Recorders
- Smartphones
- Automotive Audio
- Car audio
- External amplifiers for car audio
- Home audio
- High-end audio
- AV Receivers
- CD/SACD Players
- Network audio
- USB DAC’s
- USB Headphones
- Sound plates
- Soundbars
- HD Audio
Videos
Publicado: 2022-11-02
| Actualizado: 2025-05-14
