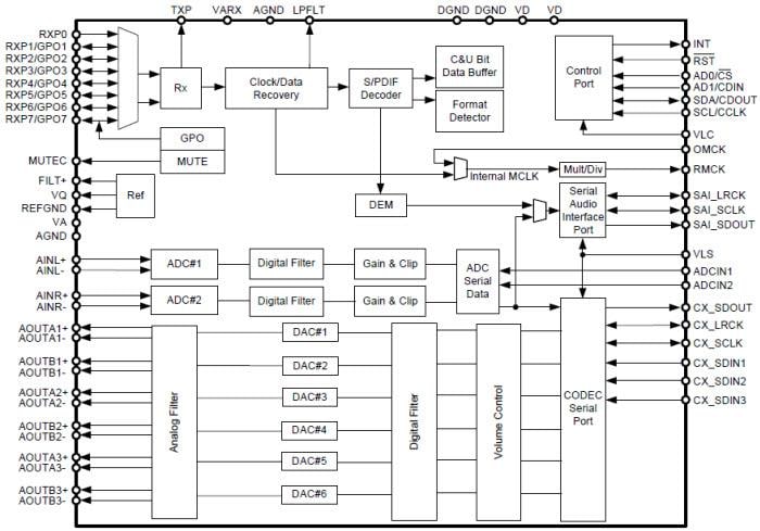
Cirrus Logic CS42516 192kHz 6-Channel Codec
Cirrus Logic's CS42516 192kHz 6-Channel Codec provides two analog-to-digital and six digital-to-analog delta-sigma converters, as well as an integrated S/PDIF receiver. The CS42516 integrated S/PDIF receiver supports up to eight inputs, clock recovery circuitry, and format auto-detection. The internal stereo ADC is capable of independent channel gain control for single-ended or differential analog inputs. All six channels of DAC provide digital volume control and differential analog outputs. The general-purpose outputs may be driven high or low, or mapped to a variety of DAC mute controls or ADC overflow indicators. The CS42516 is ideal for audio systems requiring a wide dynamic range, negligible distortion, and low noise, such as A/V receivers, DVD receivers, digital speakers, and automotive audio systems.Features
- Six 24-bit D/A, two 24-bit A/D Converters
- 110dB DAC / 114dB ADC Dynamic Range
- -100dB THD+N
- System Sampling Rates up to 192kHz
- S/PDIF Receiver Compatible with EIAJ CP1201 and IEC-60958
- Recovered S/PDIF Clock or System Clock Selection
- 8:2 S/PDIF Input MUX
- ADC High-Pass Filter for DC Offset Calibration
- Expandable ADC Channels and One-Line Mode Support
- Digital Output Volume Control with Soft Ramp
- Digital +/-15dB Input Gain Adjust for ADC
- Differential Analog Architecture
- Supports Logic Levels between 1.8V and 5V
Block Diagram
Publicado: 2013-02-06
| Actualizado: 2024-10-28
