Diodes Incorporated AP43771 High-Performance USB Type-C PD Controller

Diodes Inc. AP43771 High-Performance USB Type-C™ Power Delivery Controller is targeted for USB-Type-C adapter and charger applications. Diodes Inc. AP43771 is compatible with Qualcomm QC4/QC4+ protocol, which supports USB Power Delivery specification Rev3.0 V1.2 (including Optional PPS Support). The AP43771 can support PPS APDO (Augmented Power Data Object) with 20mV/step voltage resolution and 50mA/step current resolution for power management. Additionally, cable-loss compensation and SOP’ command for e-Marker detection is embedded too. The AP43771 can provide a robust protection scheme with built-in OVP/OCP/SCP/OTP features.

Features

  • Compatible with USB PD Rev3.0 V1.2
  • USB-IF PD3.0/PPS certificated TID = 1090028
  • Qualcomm QC4/4+ protocol certificated
  • OTP (One-Time-Programmable) for main firmware
  • MTP (Multi-Time-Programmable ) for system configuration
  • Built-in regulator for CV and CC control
  • Support SCP/OTP/OVP/UVP with auto-restart
  • Support power-saving mode
  • External N-MOSFET control for VBUS power delivery
  • Support e-marker cable detection
  • 3.3V to 20V operating voltage range
  • Fewest external component count
  • Lead-free & fully RoHS compliant
  • Halogen and antimony free “Green” device

Applications

  • USB Type-C adapter/charger
  • USB PD converter

Infographic

Chart - Diodes Incorporated AP43771 High-Performance USB Type-C PD Controller

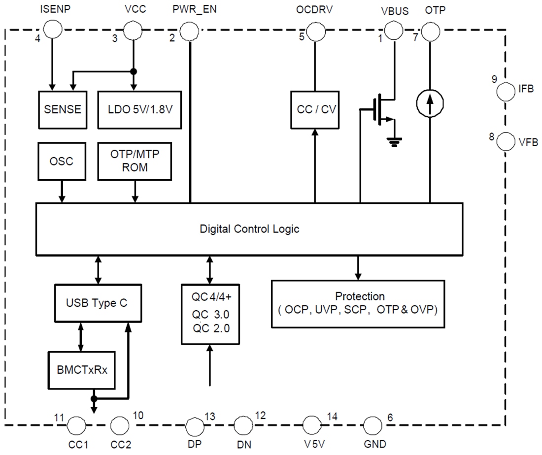
Functional Block Diagram

Block Diagram - Diodes Incorporated AP43771 High-Performance USB Type-C PD Controller
Publicado: 2020-01-17 | Actualizado: 2024-07-03