Diodes Incorporated PI3HDX1212 12Gbps HDMI™ 2.1 1:2 Signal Duplicator

Diodes Incorporated PI3HDX1212 12Gbps HDMI™ 2.1 1:2 Signal Duplicator is designed for high-resolution video networks based on HDMI 2.1 standards signal processing. The PI3HDX1212 drives differential signals to multiple video display units. Depending on the mode select pin, the device offers a controllable equalizer, flat gain, and output swing linearity that can be manipulated through pin- or I2C-control. The maximum HDMI data rate of 12Gbps delivers an 8K at 60Hz resolution or 4K at 120Hz, which is needed for 8K HDTV, PC graphics products, and other peripheral devices. For PC graphic applications, the PI3HDX1212 is positioned at the driver’s side and fan out differential signals to multiple display units, such as a PC LCD monitor, projector, and TV. The CTLE equalizers are implemented at the inputs of the redriver to decrease the ISI jitters and compensate for channel loss.

The Diodes PI3HDX1212 guarantees the transmittal of high-bandwidth video streams from video origins to the end-display units.

Features

  • 1-to-2 active signal duplicator for 4-lane HDMI2.1 operation
  • Data rate support up to 12Gbps and support 8K4K pixel resolution
  • Quad-level equalizer gain value selection controlled by pin strap or I2C mode programming
  • Quad-level flat gain and output swing linearity selection controlled by pin strap or I2C mode programming
  • 2KV HBM ESD protection on I/O pins
  • 3.3V Single power supply
  • -40°C to +70°C temperature support
  • Totally lead-free and fully RoHS compliant
  • Halogen and antimony-free “Green” device
  • For automotive applications requiring specific change control (i.e. parts qualified to AEC-Q100/101/104/200, PPAP capable, and manufactured in IATF 16949 certified facilities)
  • Packaging (Pb-free and Green) 40-pin, TQFN, 3mm x 6mm (0.4mm pitch) (ZLD)

Applications

  • Display peripheral box
  • Digital signage display
  • Multi-screen splicing

Application Diagram

Application Circuit Diagram - Diodes Incorporated PI3HDX1212 12Gbps HDMI™ 2.1 1:2 Signal Duplicator

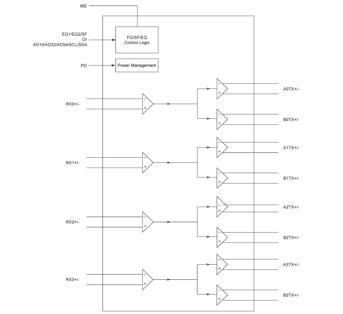
Block Diagram

Block Diagram - Diodes Incorporated PI3HDX1212 12Gbps HDMI™ 2.1 1:2 Signal Duplicator
Publicado: 2024-09-09 | Actualizado: 2024-11-14