Microchip Technology MICRF230 ASK/OOK Receiver with RSSI & Squelch

Microchip Technology MICRF230 ASK/OOK Receiver with RSSI and Squelch is a 400MHz to 450MHz super-heterodyne, image-reject RF receiver with automatic gain control. The MICRF230 also features an ASK/OOK demodulator, analog RSSI output, and integrated squelch. It's ideal for low-cost, low-power, RKE, TPMS, and remote actuation applications and only requires a crystal and a minimum number of external components. It achieves -112dBm sensitivity at a bit rate of 1kbps with 1% BER. The MICRF230 has four demodulator filter bandwidths selectable using SELO and SEL1 from 1625Hz to 13kHz at 433.92MHz. This allows the device to support bit rates up to 20kbps. It typically consumes 6.0mA at 433.92MHz with a supply voltage of 3.5V to 5.5V. The shutdown mode and sleep mode reduce current to 0.5µa. The squelch feature decreases the activity on the data output pin until valid bits are detected while maintaining overall receiver sensitivity.

The Microchip Technology MICRF230 ASK/OOK Receiver is available in a compact 4.9mm x 6.0mm QSOP-16 package with a -40°C to +105°C operating junction temperature range.

Features

  • -112dBm sensitivity at 1kbps with 1% BER
  • Supports bit rates up to 20kbps at 433.92MHz
  • 25dB image-reject mixer
  • No IF filter required
  • 60dB analog RSSI output range
  • 35V to 5.5V supply voltage range
  • 6.0mA supply current at 434MHz
  • 05μA supply current in shutdown mode
  • 16-pin 4.9×6.0mm QSOP package
  • -40°C to +105°C temperature range
  • 2kV HBM ESD rating

Applications

  • Automotive remote keyless entry (RKE)
  • Long range RFID
  • Remote fan and light control
  • Garage door and gate openers
  • Remote metering
  • Low data rate unidirectional wireless data links

Typical Application Circuit

Application Circuit Diagram - Microchip Technology MICRF230 ASK/OOK Receiver with RSSI & Squelch

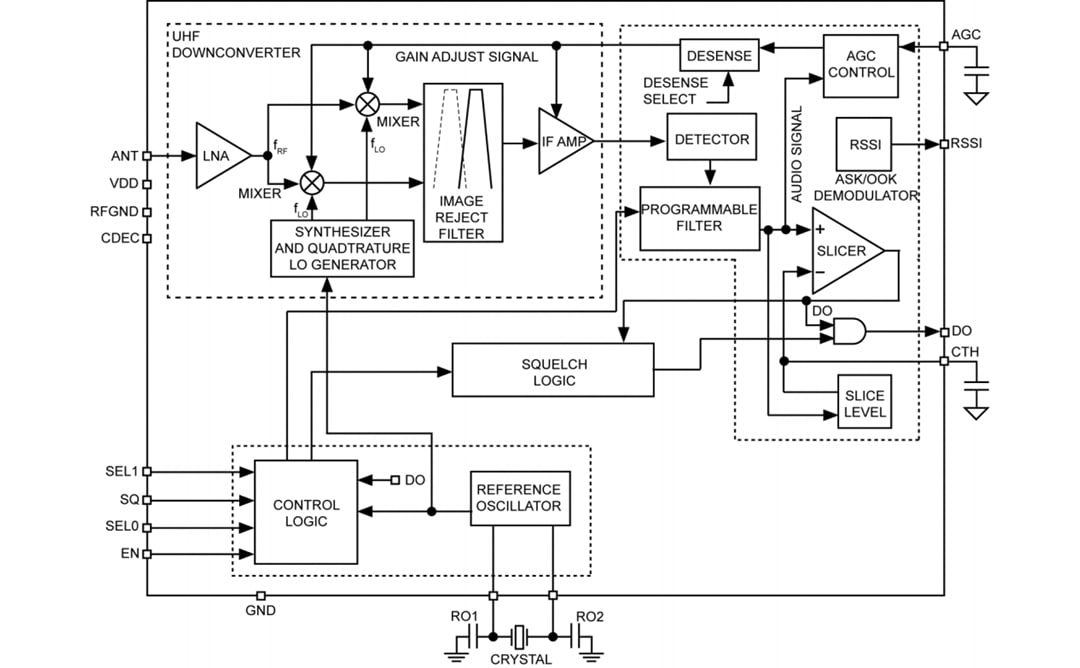
Block Diagram

Block Diagram - Microchip Technology MICRF230 ASK/OOK Receiver with RSSI & Squelch
Publicado: 2015-05-06 | Actualizado: 2022-03-11