Microchip Technology UCS2113-C USB Power Switch & Current Monitors

Microchip Technology UCS2113-C USB Dual-Port Power Switch and Current Monitors provide 3A continuous current per VBUS port with precision overcurrent limiting (OCL). The UCS2113-C additionally features port power switch enable, auto-recovery fault handling, undervoltage and overvoltage lockout, back-drive protection and back-voltage protection, and thermal protection.

The Microchip UCS2113-C USB Dual-Port Power Switch and Current Monitors are ideal for both stand-alone and applications having SMBus/I2C communications. For SMBus applications, the UCS2113-C delivers per-port current monitoring and three programmable current limits per switch, ranging from 3.5A to 5.2A. Per-port charge rationing is also provided, ranging from 3.8mAh to 246.3Ah. The UCS2113-C in stand-alone mode supports three current limits for both switches, running from 3.5A + 3.5A to 5.2A + 5.2A. Both power switches include an independent VBUS discharge function.

The UCS2113-C Dual-Port Power Switch and Current Monitors are available in a 4x4 mm 20-pin QFN package.

Features

  • Dual-port power switches:
    • 2.9V to 5.5V Source voltage range
    • 3A continuous current per VBUS port with 40mΩ on resistance per switch
    • Independent port power switch enable pins
    • DUAL fault ALERT# active drain output pins
    • Trip mode current limiting behavior
    • Undervoltage and overvoltage lockout
    • Back-drive, back-voltage protection
    • Auto-recovery fault handling with low test current
    • BOOST# logic output to increase DC-DC converter output under large load conditions
  • SMBus 2.0/I2C Mode Features:
    • Three programmable current limits assignable to each power switch
    • Other SMBus addresses available upon request
    • Block read and block write
  • Self-contained current monitoring (no external sense resistor required)
  • Fully programmable per-port charge rationing and behaviors
  • Automatic VBUS discharge function
  • -40°C to +105°C Wide operating temperature range
  • Passes automotive AEC-Q100 reliability testing

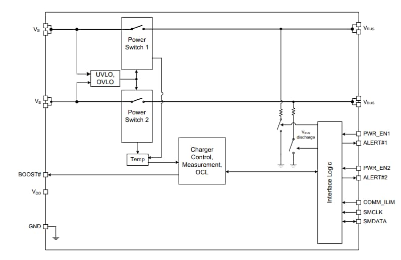
Block Diagram

Block Diagram - Microchip Technology UCS2113-C USB Power Switch & Current Monitors
Publicado: 2021-02-09 | Actualizado: 2022-03-11