Nexperia NCA95xx I2C GPIO Expanders

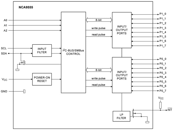
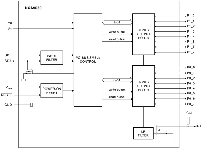
Nexperia NCA95xx I2C General-Purpose I/O (GPIO) Expanders provide an elegant solution when additional I/Os are needed while keeping the interconnections to a minimum. Housed in TSSOP24 and HWQFN24 packages, these GPIO expanders have multiple features like interrupts, hardware RESET, internal pull-up resistors, and configurable pull-ups. These Nexperia NCA95xx GPIO expanders feature benefits such as extremely low static power consumption and reduced PCB design complexity through trace reduction and routing simplification, thereby reducing the BOM cost.

Features

  • Single supply GPIO expander supporting operating power supply voltage range of 1.65V to 5.5V operation
  • Serial to parallel (SDA to P0-P16) and parallel to serial (P0-P16) conversion with I2C protocol
  • Schmitt-trigger action allows slow input transition and better switching noise immunity at the SCL and SDA inputs
  • Low power consumption of 2.5µA maximum
  • 400kHz operation (FM I2C mode)
  • Glitch-free power-up with all channels configured as inputs with weak pull-up resistors
  • 5V tolerant I/Os and 16 I/Os pins, which defaults to 16 inputs
  • Latched outputs with 25mA drive maximum capability for directly driving LEDs
  • Polarity inversion register
  • External RESET pin to reset state machine and internal registers
  • Noise filters on SCL and SDA inputs
  • TSSOP24 and HWQFN24 packages
  • Specified from -40°C to +85°C and -40°C to +125°C

Applications

  • Servers and routers
  • TV and hardware control monitors
  • Gaming consoles and drones
  • Battery powered applications
  • Automotive applications (ADAS, VCU, DCU, and BCM)
  • Surveillance cameras
  • Telecomm equipment

Block Diagrams

View Results ( 8 ) Page
N.º de artículo Hoja de datos Paquete / Cubierta Frecuencia de reloj máxima Número de entradas / salidas
NCA9535BY-Q100HP NCA9535BY-Q100HP Hoja de datos HWQFN-24
NCA9539BYHP NCA9539BYHP Hoja de datos HWQFN-24
NCA9555BY-Q100HP NCA9555BY-Q100HP Hoja de datos HWQFN-24 100 kHz, 400 kHz 16 I/O
NCA9555BYHP NCA9555BYHP Hoja de datos HWQFN-24 100 kHz, 400 kHz 16 I/O
NCA9535PWJ NCA9535PWJ Hoja de datos TSSOP-24 400 kHz 16 I/O
NCA9539PWJ NCA9539PWJ Hoja de datos TSSOP-24 400 kHz 16 I/O
NCA9539PW-Q100J NCA9539PW-Q100J Hoja de datos TSSOP-24 400 kHz 16 I/O
NCA9535PW-Q100J NCA9535PW-Q100J Hoja de datos TSSOP-24 400 kHz 16 I/O
Publicado: 2023-05-11 | Actualizado: 2025-04-17