STMicroelectronics ST60A3H1 V-Band Connectivity Transceivers
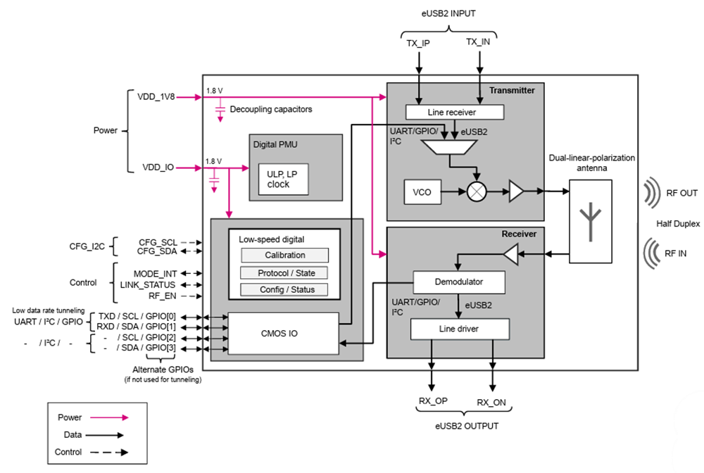
STMicroelectronics ST60A3H1 V-Band Connectivity Transceiver is an RF millimeter-wave transceiver product with a dual-linear polarization integrated antenna, operating in the 60GHz V-band from 60GHz to 61GHz. The ST60A3H1 has a miniature form factor, low-power operation, and an optimized bill of materials (BOM). The ST60A3H1 is a high-speed RF transceiver compliant with eUSB2, UART, and I2C protocols. The transceiver module contains general-purpose input/output (GPIO) that are also available in tunneling mode. The STMicroelectronics ST60A3H1 meets the requirements of various applications due to the device's compactness, low-power operation, ease of use, and innovative architecture design, which optimizes the system bill of materials.
Features
- 60GHz V-band transceiver for short-range contactless connectivity up to 480Mbit/s
- Compact solution integrating a full RF transceiver and dual-linear-polarization antenna, operating in half-duplex mode
- 60GHz to 61GHz RF operational bandwidth
- 42dB typical total link budget, up to 5cm free-space propagation loss
- eUSB2, UART, GPIO, or I2C RF tunneling
- Optimized BOM without external matching network and clock references
- Single 1.8V supply
- Low power consumption (typical values)
- eUSB2 Rx/Tx - 110/130mW
- UART/GPIO/I2C - 90mW
- Standby - 23μW
- A reference clock may be used at one end of the RF link to comply with specific regional regulations
- VFBGA 2.9mm x 4.1mm x 0.8mm, 23-ball, 0.4mm pitch package
Applications
- Contactless test factory automation and after-sales services
- Firmware Over-the-Air (FOTA) updates
- Contactless data harvesting
- Life-proof hole-less personal devices
- Contactless accessories
- Contactless personal equipment docking hub and data transfer
- Industrial contactless connectors
- Board-to-board connection and flex cable replacement
Block Diagram
