Texas Instruments DAC80516 Digital-to-Analog Converters (DACs)
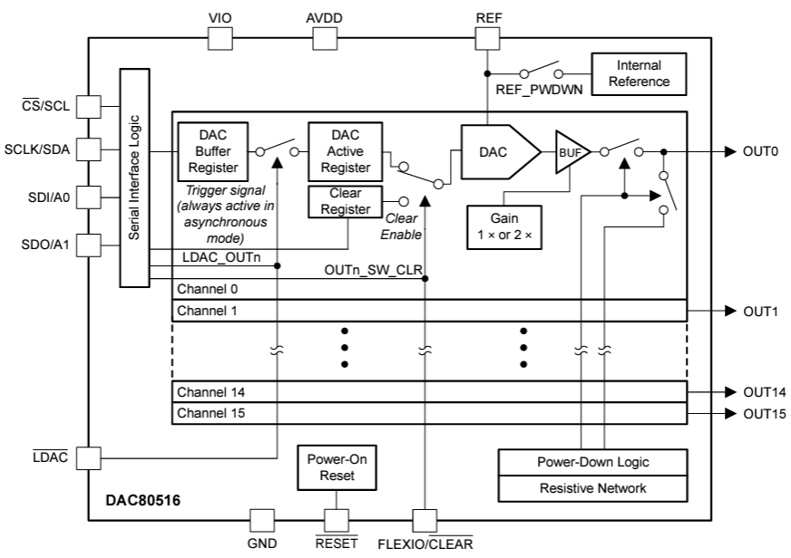
Texas Instruments DAC80516 Digital-to-Analog Converters (DACs) are low-power, 16-channel, and buffered voltage-output DACs. These DACs with user-selectable gain configurations can provide full-scale outputs of 2.5V or 5V. The DAC80516 DACs include a 2.5V 5ppm/°C internal reference eliminating the need for external precision reference in various applications. These DACs communicate through an SPI and I2C-supported serial interface, operating at clock rates of up to 50MHz (during SPI writes to the device). The DAC80516 DACs are ideal for optical modules, inter-DC interconnects, and analog output modules.Features
- Performance:
- INL:±2LSB maximum at 16-bit resolution
- TUE:±0.15% of FSR maximum
- Integrated 2.5V precision internal reference:
- ±2.5mV maximum initial accuracy
- 5ppm/°C typical drift
- High drive capability of 50mA with 0.5V from supply rails
- Flexible configuration options:
- 2x and 1x user selectable gain
- Reset to zero scale
- Clear output function
- Wide operating range:
- 2.7V to 5.5V power supply
- -40°C to 125°C temperature range
- SPI and I2C interfaces operate at a 1.7V to 5.5V voltage range:
- SPI: 4-wire interface
- I2C: Four target addresses
- 4mm x 4mm, 28-pin WQFN small package
Applications
- Optical modules
- Inter-DC interconnect
- Analog output module
Block Diagram
Publicado: 2025-01-14
| Actualizado: 2025-02-13
