Texas Instruments DLP160AP 0.16 QnHD DLP® Digital Micromirror Device

Texas Instruments DLP160AP 0.16" QnHD DLP® DMD is a digitally controlled micro-opto-electromechanical system (MOEMS) spatial light modulator (SLM). The DLP160AP digital micromirror device (DMD) combined with an appropriate optical system displays a crisp and high-quality image or video.

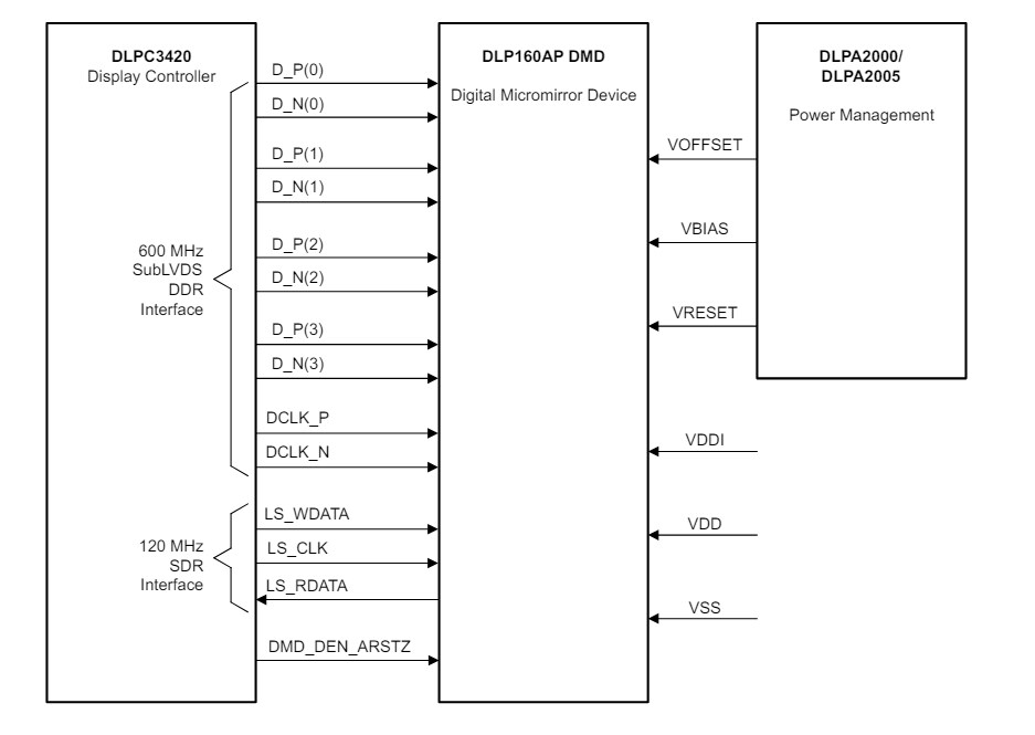
The TI DLP160AP is part of the DLP160AP DMD and DLPC3420 controller chipset. The DLPA2000 or DLPA2005 PMIC/LED driver also supports the chipset. The compact size of the DLP160AP is ideal for portable equipment where a small form factor and low power are essential. The DLP160AP DMD, combined with the controller and PMIC/LED driver, supplies a complete system solution that allows a small form factor, low power, and high image-quality displays.

Features

  • Ultra-compact 0.16" (3.965mm) diagonal micromirror array
    • Displays 320 × 180 resolution
    • 5.4µm micromirror pitch
    • 17° micromirror tilt (relative to a flat surface)
    • Side illumination for optimal efficiency and optical engine size
    • Polarization-independent aluminum micromirror surface
  • 4-Bit SubLVDS input data bus
  • Dedicated DLPC3420 display controller and DLPA2000 or DLPA2005 PMIC/LED driver for reliable operation

Applications

  • Display:
    • Ultra-mobile, ultra-low power pico projectors
    • Phone, tablet, and laptop
    • Smart display
    • Smart home
    • Augmented reality glasses
    • Informational display

Simplified Application

Application Circuit Diagram - Texas Instruments DLP160AP 0.16 QnHD DLP® Digital Micromirror Device

Block Diagram

Block Diagram - Texas Instruments DLP160AP 0.16 QnHD DLP® Digital Micromirror Device
Publicado: 2024-06-21 | Actualizado: 2024-07-10