Texas Instruments MSP430FR215x / MSP430FR235x Microcontrollers
Texas Instruments MSP430FR215x / MSP430FR235x Microcontrollers (MCUs) are ultra-low-power low-cost devices for sensing and measurement applications. The MSP430FR235x MCUs integrate four configurable signal-chain modules called smart analog combos, each of which can be used as a 12-bit DAC or a configurable programmable-gain Op-Amp. These can be used to meet the specific needs of a system while reducing the BOM and PCB size. The device also includes a 12-bit SAR ADC and two comparators.The MSP430FR215x and MSP430FR235x MCUs all support an extended temperature range from –40° up to 105°C. This allows for use in higher-temperature industrial applications that can benefit from the FRAM data-logging capabilities. The extended temperature range allows developers to meet the requirements of applications such as smoke detectors, sensor transmitters, and circuit breakers.
The MSP430FR215x and MSP430FR235x MCUs feature a powerful 16-bit RISC CPU, 16-bit registers, and a constant generator contributing to maximum code efficiency. The digitally controlled oscillator (DCO) allows the device to wake up from low-power modes to active mode typically in less than 10µs.
The MSP430 ultra-low-power (ULP) FRAM microcontroller platform combines uniquely embedded FRAM and holistic ultra-low-power system architecture, allowing system designers to increase performance while lowering energy consumption. FRAM technology combines the low-energy fast writes, flexibility, and endurance of RAM with the nonvolatile behavior of flash.
Features
- Embedded microcontroller
- 16-Bit RISC Architecture up to 24MHz
- Extended temperature of –40°C to 105°C
- Wide supply voltage range from 3.6V down to 1.8V
- Optimized low-power modes (at 3V)
- 142µA/MHz Active mode
- Standby
- LPM3 with 32768Hz Crystal of 1.43µA (with SVS enabled)
- LPM3.5 with 32768Hz Crystal of 620nA (with SVS enabled)
- Shutdown (LPM4.5) of 42nA (with SVS disabled)
- Low-power Ferroelectric RAM (FRAM)
- Up to 32KB of nonvolatile memory
- Built-in Error Correction Code (ECC)
- Configurable write protection
- Unified memory of program, constants, and storage
- 1015 Write cycle endurance
- Radiation resistant and nonmagnetic
- Ease of use
- 20KB ROM Library includes driver libraries and FFT libraries
- High-performance analog
- One 12-channel 12-Bit Analog-to-Digital Converter (ADC)
- Two Enhanced Comparators (eCOMP)
- Four Smart Analog Combo (SAC-L3) (MSP430FR235x devices only)
- Intelligent digital peripherals
- Three 16-Bit timers with three capture/compare registers each (Timer_B3)
- One 16-Bit timer with seven capture/compare registers each (Timer_B7)
- One 16-Bit counter-only Real-Time Clock Counter (RTC)
- 16-Bit Cyclic Redundancy Checker (CRC)
- Interrupt Compare Controller (ICC) enabling nested hardware interrupts
- 32-Bit hardware multiplier (MPY32)
- Manchester Codec (MFM)
- Enhanced serial communications
- Two enhanced USCI_A (eUSCI_A) modules support UART, IrDA, and SPI
- Two enhanced USCI_B (eUSCI_B) modules support SPI and I2C
- Clock System (CS)
- General Input/Output and pin functionality
- Package options
- 48-Pin LQFP (PT)
- 40-Pin VQFN (RHA)
- 38-Pin TSSOP (DBT)
Applications
- Smoke and heat detectors
- Sensor transmitters
- Circuit breakers
- Sensor signal conditioning
- Wired industrial communications
- Optical modules
- Battery pack management
- Toll tags
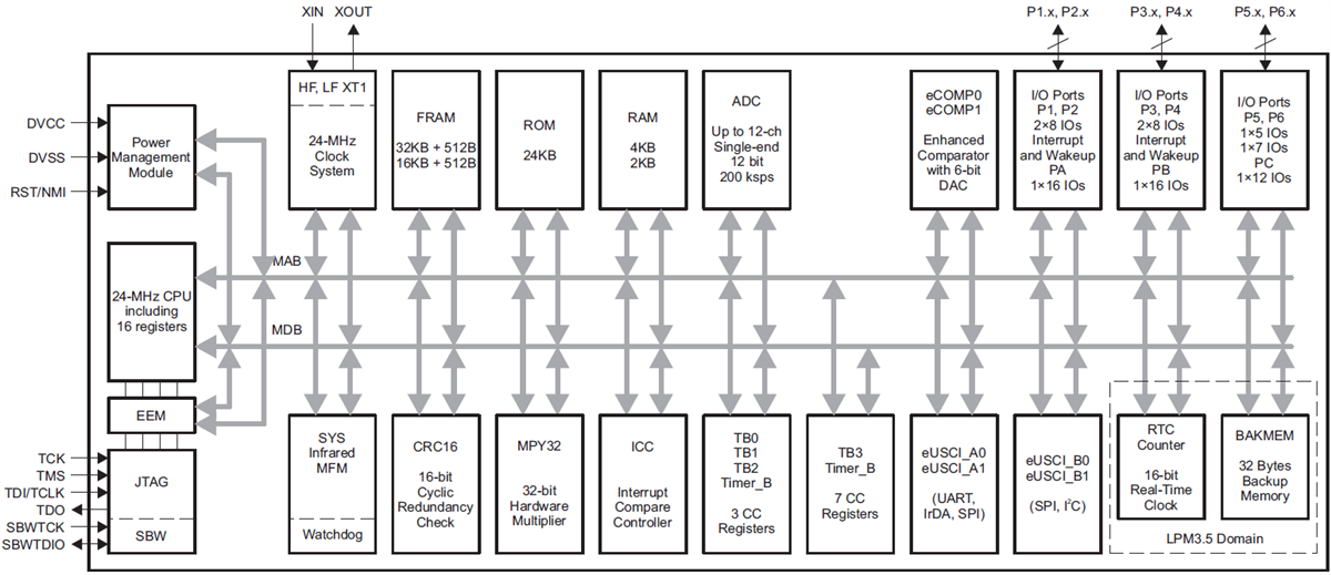
MSP430FR215x Block Diagram
MSP430FR235x Block Diagram
