Texas Instruments TDC7201 Time-to-Digital Converter

Texas Instruments TDC7201 Time-to-Digital Converter is designed for use with ultrasonic, laser, and radar range-finding equipment using the time-of-flight technique. The TDC7201 has two built-in Time-to-Digital Converters (TDCs) that can be used to measure the distance down to 4cm and up to several kilometers using a simple architecture. This feature eliminates the need to use expensive FPGAs or processors. Each TDC performs a stopwatch function and measures the elapsed time (time-of-flight or TOF) between a START pulse and up to five STOP pulses. The ability to measure simultaneously and individually on two pairs of START and STOP pins using two built-in TDCs offers high flexibility in time measurement design. The device has an internal self-calibrated time base which compensates for drift over time and temperature. Self-calibration enables time-to-digital conversion accuracy in the order of picoseconds. This accuracy makes the Texas Instruments TDC7201 ideal for range finder applications.

Features

  • 55ps resolution 
  • 35ps standard deviation 
  • Measurement range
    • Individual mode 1 (12ns to 2000ns)
    • Individual mode 2 (250ns to 8ms)
    • Combined operation (0.25ns to 8ms)
  • 2.7mA low active power consumption 
  • Supports up to 10 STOP signals
  • Autonomous multi-cycle averaging mode for low power consumption
  • 2V to 3.6V supply voltage
  • –40°C to +85°C operating temperature
  • SPI interface for register access

Applications

  • Range finders
  • LIDAR
  • Drones and robotics
  • Advanced Driver Assistance Systems (ADAS)
  • Collision detection systems
  • Flowmeters

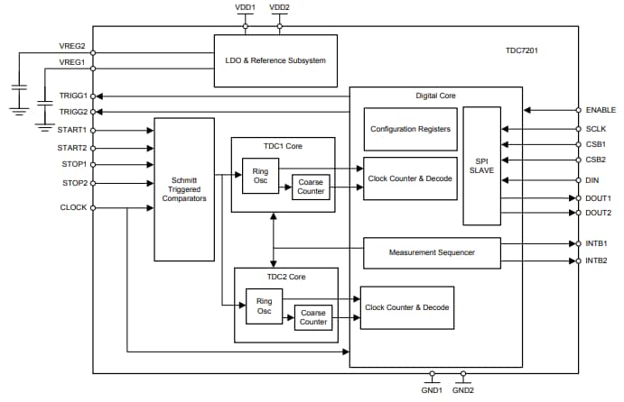
Functional Block Diagram

Block Diagram - Texas Instruments TDC7201 Time-to-Digital Converter
Publicado: 2016-10-19 | Actualizado: 2024-09-17