Texas Instruments TPS389006/TPS389006-Q1 Voltage Supervisor

Texas Instruments TPS389006/TPS389006-Q1 Voltage Supervisors are SIL-3 compliant six-channel window supervisor ICs with two remote sense pins available in a 16-pin 3mm x 3mm QFN package. This high-accuracy multichannel voltage supervisor is designed for systems that operate on low-voltage supply rails and have narrow margin supply tolerances.

Remote sense pins enable a highly accurate voltage measurement on the high current core rail by accounting for the voltage drop across PCB traces. I2C functionality gives flexibility in selecting thresholds, reset delays, glitch filters, and pin functionality. The internal glitch immunity and noise filters eliminate the need for external RC components to reduce false resets resulting from power transients. In addition, the device does not require external resistors for setting overvoltage and undervoltage reset thresholds, which further optimizes overall accuracy, cost, and solution size and improves reliability for safety systems.

This device offers CRC error checking, sequence logging during turn ON or turn OFF, and a built-in ADC for voltage readouts for redundant error checking. In addition, TPS389006 offers a sync feature for tagging rails as each one comes up. The TPS389006/TPS389006-Q1 device also pairs with TI’s power-supply sequencer TPS38700 to ensure proper power-on sequence and voltage monitoring for SIL-3 level compliance. The Texas Instruments TPS389006-Q1 devices are AEC-Q100 qualified for automotive applications.

Features

  • Functional Safety-Compliant
    • Development target for functional safety applications
    • Documentation to aid IEC 61508 system design
    • Systematic capability up to SIL 3
    • Hardware capability up to SIL 3
  • Monitor state-of-the-art SOCs
    • ±6mV threshold accuracy (–40°C to +125°C)
    • 2.5V to 5.5V input voltage range
    • 2.48V undervoltage lockout (UVLO)
    • 200µA low standby quiescent current
    • Six channels with two remote sense
    • Fixed window threshold levels
      • 5mV steps from 0.2V to 1.475V
      • 20mV steps from 0.8V to 5.5V
  • Miniature solution and minimal component cost
    • 3mm x 3mm QFN package
    • Adjustable glitch immunity via I2C
    • User-adjustable voltage threshold levels via I2C
  • Designed for safety applications
    • Active-low open-drain NIRQ output
    • Built-in 8-bit ADC for real-time voltage readouts
    • Cyclic Redundancy Checking (CRC)
    • Packet Error Checking (PEC)
    • Sequence and fault logging
  • Sync function for rail tagging
    • Connect with a multichannel sequencer for sequencing functionality

Applications

  • Medical robotics
  • Industrial robotics
  • Server switches
  • Motor drivers

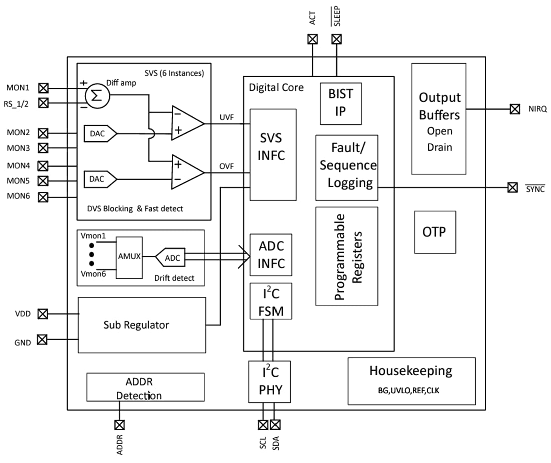
Functional Block Diagram

Block Diagram - Texas Instruments TPS389006/TPS389006-Q1 Voltage Supervisor
Publicado: 2023-08-17 | Actualizado: 2023-08-25