Texas Instruments UCC21717-Q1 Isolated Single Channel Gate Driver
Texas Instruments UCC21717-Q1 Isolated Single Channel Gate Driver is designed to drive up to 1700V SiC MOSFETs and IGBTs. It features advanced integrated protection, superior dynamic performance, and robustness. UCC21717-Q1 has up to ±10A peak source and sink current. The input side is isolated from the output side with SiO2 capacitive isolation technology, supporting up to 1.5kVRMS working voltage, 12.8kVPK surge immunity with longer than 40 years of isolation barrier life, as well as providing low part-to-part skew, and >150V/ns common mode noise immunity (CMTI).The Texas Instruments UCC21717-Q1 includes state-of-art protection features, such as fast overcurrent and short circuit detection, shunt current sensing support, fault reporting, active Miller clamp, and input and output side power supply UVLO to optimize SiC and IGBT switching behavior and robustness. The isolated analog to PWM sensor can be utilized for easier temperature or voltage sensing, increasing the drivers’ versatility and simplifying the system design effort, size, and cost.
Features
- 5.7kVRMS single channel isolated gate driver
- AEC-Q100 qualified for automotive applications
- Device temperature grade 0 (-40°C to +150°C ambient operating temperature range)
- Device HBM ESD classification level 3A
- Device CDM ESD classification level C6
- Functional Safety Quality-Managed
- Documentation available to aid functional safety system design
- SiC MOSFETs and IGBTs up to 2121Vpk
- 33V maximum output drive voltage (VDD-VEE)
- ±10A drive strength and split output
- 150V/ns minimum CMTI
- 270ns response time fast overcurrent protection
- 4A internal active Miller clamp
- 400mA soft turn-off under fault condition
- Isolated analog sensor with PWM output for
- Temperature sensing with NTC, PTC, or thermal diode
- High voltage DC-Link or phase voltage
- Alarm FLT on over current and reset from RST/EN
- Disabling the device with RST/EN triggers a soft turn-off
- Rejects < 40ns noise transient and pulses on input pins
- 12V VDD UVLO with power good on RDY
- Inputs/outputs with over/under-shoot transient voltage immunity up to 5V
- 130ns (maximum) propagation delay and 30ns (maximum) pulse/part skew
- SOIC-16 DW package with creepage and clearance distance > 8mm
- Operating junction temperature –40°C to 150°C
Applications
- Traction inverter for EVs
- Onboard charger and charging pile
- DC/DC converter for HEV/EVs
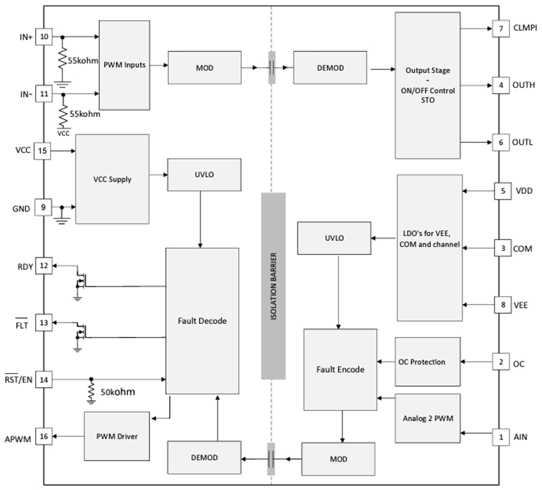
Functional Block Diagram
Publicado: 2023-08-28
| Actualizado: 2025-03-06
