Texas Instruments OPAx322/OPAx322-Q1 20MHz CMOS Op Amps

Texas Instruments OPAx322/OPAx322-Q1 20MHz CMOS Operational Amplifiers (Op Amps) are single-, dual-, and quad-channel devices featuring low noise and rail-to-rail inputs/outputs optimized for low-power, single-supply applications. TI OPAx322/OPAx322-Q1 op amps are specified over a wide supply range of 1.8V to 5.5V. The low quiescent current of 1.5mA per channel makes these TI devices well-suited for power-sensitive applications.

TI OPAx322/OPAx322-Q1 op amps combine very low noise (8.5nV/√Hz at 1kHz), high gain-bandwidth (20MHz), and fast slew rate (10V/µs). These TI devices feature low THD+N, making them excellent for consumer audio applications, particularly single-supply systems. The OPAx322-Q1 devices are AEC-Q100 qualified for automotive applications.

Features

  • Gain Bandwidth: 20MHz
  • Low Noise: 8.5nV/√Hz at 1kHz
  • Slew Rate: 10V/µs
  • Low THD+N: 0.0005%
  • Rail-to-Rail I/O
  • Offset Voltage: 2mV (max)
  • Supply Voltage: 1.8V to 5.5V
  • Supply Current: 1.5mA/ch
  • Shutdown: 0.1µA/ch
  • Unity-Gain Stable

Applications

  • Sensor Signal Conditioning
  • Consumer Audio
  • Multi-Pole Active Filters
  • Control-Loop Amplifiers
  • Communications
  • Security
  • Scanners

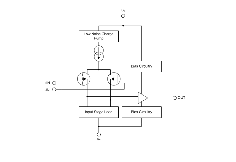
Functional Diagram

Block Diagram - Texas Instruments OPAx322/OPAx322-Q1 20MHz CMOS Op Amps
Publicado: 2012-01-19 | Actualizado: 2025-02-19