Toshiba TMPM4K Group(1) 32-bit Microcontroller

Toshiba TMPM4K Group(1) 32-bit Microcontroller is based on the high-performing Arm® Cortex®-M4 processor with FPU. This microcontroller operates from a 1MHz to 120MHz frequency range and a 2.7V to 5.5V voltage range. The TMPM4K microcontroller consists of self-diagnosis functions that support functional safety certification as per IEC 60730 class B and other standards. This microcontroller includes encoder interfaces and programmable motor control functions, which reduce CPU loads during motor control. The TMPM4K microcontroller features a 12-bit Analog-to-Digital Converter (ADC), DMA controller (DMAC), CRC calculation circuit (CRC), asynchronous serial communication circuit (UART), and Trigger Selection (TRGSEL) circuit. This microcontroller is used in applications such as motors, washing machines, refrigerators, and industrial equipment.

Features

  • Arm® Cortex®-M4 processor with FPU
    • 1MHz to 120MHz operating frequency range
    • Supports the Memory Protection Unit (MPU)
  • 128KB to 256KB flash memory
  • Operating ranges
    • 2.7V to 5.5V voltage range
    • IDLE mode and STOP1 mode low-power consumption mode
  • Internal memory
    • 128KB to 256KB code flash and up to 100,000 times rewrite frequencies
    • 18KB RAM, support parity
  • Clock
    • 6MHz to 24MHz (ceramic and crystal oscillator) External High-Speed Oscillator (EHOSC)
    • 6MHz to 24MHz External High-Speed Clock Input (EHCLKIN) 
    • 10MHz, supports user trimming Internal High-Speed Oscillator (IHOSC1)
    • 120MHz PLL
  • Advanced programmable motor control circuit (A-PMD)
    • 1x to 2x channels
    • Synchronized operation with 3-phase complementary PWM output and 12-bit ADC
    • Supports 3-phase interleaved PFC control
    • Emergency stop function by external inputs (EMG pin and OVV pin)
  • Advanced encoder input circuit (32-bit, A-ENC32)
    • 2-channel
    • Encoder/sensor (3x types)/timer/phase counter mode
  • 32-bit timer event counter (T32A)
    • 6x channels as a 32-bit timer and 12x channels as a 16-bit timer
    • Interval timer, event counter, input capture, 2-phase plus count, PPG output, synchronous start, and trigger start and stop
  • Clock selective watchdog timer (SIWDT)
    • 1-channel
    • Clock other than the system clock can be selected as a source clock
    • Clear window, interrupt or reset output selectable
  • I2C interface
    • 1-channel, supports multi-master I2C interface
    • 1-channel, supports multi-master, and 10-bit addressing I2C interface version A (EI2C)
  • 12-bit analog-to-digital converter (ADC)
    • 2x units, 9x to 12x analog inputs
    • 0.73µs conversion time at fSCLK = 30MHz
    • Self-diagnosis support function
    • Compare functions of conversion results of each unit
  • Packages
    • LQFP64 10mm x 10mm, 0.5mm pitch
    • LQFP48 7mm x 7mm, 0.5mm pitch
    • LQFP44 10mm x 10mm, 0.8mm pitch

Applications

  • Industrial
    • Inverters
    • Motor equipment
    • Power conditioners
    • Robots
  • Consumer
    • Air-conditioners
    • Washing machines
    • Refrigerators
       

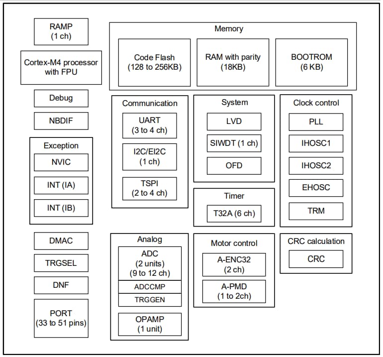
Block Diagram

Block Diagram - Toshiba TMPM4K Group(1) 32-bit Microcontroller
Publicado: 2025-02-20 | Actualizado: 2025-08-28